Toyota Tundra Service Manual: Adjustment

ADJUSTMENT

CAUTION / NOTICE / HINT

CAUTION:

Radiofrequency radiation exposure information:

  • This equipment complies with FCC radiation exposure limits set forth for an uncontrolled environment.
  • This equipment should be kept with minimum distance of 20 cm (7.87 in.) between the radiator (antenna) and your body at all times during adjustment.
  • This transmitter must not be co-located or operating in conjunction with any other antenna or transmitter.

PROCEDURE

1. PREPARATION FOR MILLIMETER WAVE RADAR SENSOR ASSEMBLY ADJUSTMENT

(a) Park the vehicle on a level surface where the area in front of the vehicle shown in the illustration is free of metal objects.

*a

5 m (16.4 ft.)

*b

6 m (19.7 ft.)

*c

4 m (13.1 ft.)

*d

2 m (6.56 ft.)

Do not place any metal objects in this area

Do not place metal objects with a height of more than 50 mm (1.97 in.) in this area

HINT:

Metal objects with a height of 50 mm (1.97 in.) or less placed within the area shown in the illustration will not affect the adjustment.

(b) Check the levelness of the ground.

(1) Check the levelness of the ground at the 3 points shown in the illustration.

*a

3 m (9.84 ft.)

Levelness Check Point

(2) Place the level on each levelness check point and check that the air bubble of the level is centered.

(c) Adjust the tire inflation pressure to the specified pressure.

Click here

(d) Clean the radiator grill garnish or millimeter wave radar sensor assembly.

(e) Visually inspect the front of the vehicle.

HINT:

Confirm that there is no damage or deformation.

(f) Check that the radiator grill garnish and millimeter wave radar sensor assembly is clean and there is no dirt or snow covering them.

(g) Visually inspect the front bumper cover, radiator grille sub-assembly and stays.

HINT:

Confirm that there is no damage or deformation.

2. ADJUST MILLIMETER WAVE RADAR SENSOR ASSEMBLY VERTICALLY AND HORIZONTALLY

(a) Adjust SST (reflector) height.

(1) Adjust SST (reflector) so that the center of SST (reflector) is the same height as the millimeter wave radar sensor assembly.

HINT:

Make sure to align the center of SST (reflector) with the millimeter wave radar sensor assembly (the center of the emblem).

Reference Value:

Radiator Grille Sub-assembly

Specified Condition

for Type A

970 mm (3.18 ft.)

for Type B

986 mm (3.23 ft.)

for Type C

931 mm (3.05 ft.)

SST: 09870-60000

09870-60010

SST: 09870-60040

*a

SST (reflector)

(b) Place SST (reflector).

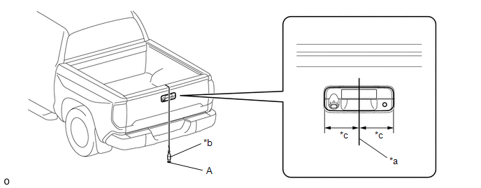
(1) Hang a weight with a pointed tip from the center of the tail gate handle, and mark the rear center point of the vehicle (point A) on the ground.

*a

String

*b

Weight

*c

Bilateral Symmetry

-

-

HINT:

Lightly flick the string with your fingers several times to confirm that the string is perpendicular to the ground.

(2) Hang a weight with a pointed tip from the center of the radiator grille garnish, and mark the front center point of the vehicle (point B) on the ground (placement position).

  1. for Type A:

    *a

    String

    *b

    Weight

    *c

    Center

    *d

    Bilateral Symmetry

  2. for Type B:

    *a

    String

    *b

    Weight

    *c

    Center

    *d

    Bilateral Symmetry

  3. for Type C:

    *a

    String

    *b

    Weight

    *c

    Center

    *d

    Bilateral Symmetry

HINT:

Lightly flick the string with your fingers several times to confirm that the string is perpendicular to the ground.

(3) Using tape and a string, create a line that connects point B to point A and extends at least 3000 mm (9.84 ft.) beyond the front center point of the vehicle.

*a

String

*b

Tape

*c

3000 mm (9.84 ft.)

-

-

HINT:

  • Make sure the string is taut when securing it with tape.
  • Lightly flick the string with your fingers several times to confirm that the string is aligned with point B.

(4) Mark point C (SST (reflector) placement position) at a position 3000 mm (9.84 ft.) from point B.

(5) Place SST (reflector) at point C.

(c) Front Beam Axis Adjustment:

NOTICE:

  • Close all of the doors.
  • Ensure that nobody enters the adjustment area during the adjustment.
  • Do not move or shake the vehicle during adjustment (do not get in or out of the vehicle).
  • During the procedure, do not enter the adjustment area.
  • Do not turn off the Techstream or ignition switch.

(1) Connect the Techstream to the DLC3.

(2) Turn the ignition switch on (IG).

(3) Turn the Techstream on and turn the cruise control system on using the cruise control main switch (ON/OFF button).

(4) Enter the following menus: Body Electrical / Pre-Collision 2 / Utility / Front Beam Axis Adjustment.

(5) According to the display on the Techstream, press "Next".

(6) Perform the adjustment according to the display on the Techstream.

NOTICE:

If an error code is displayed, perform troubleshooting according to the following table, then perform the adjustment again.

Error No.

Error Description

Cause of Error

Action to be Taken

*1: If millimeter wave radar sensor assembly learning is in progress, clear the DTCs and perform beam axis alignment again.

1

No target abnormality

  • SST (reflector) is placed incorrectly.
  • The radiator grille sub-assembly or millimeter wave radar sensor assembly is covered by dirt or snow.

Place SST (reflector) in the correct position. (See page 2. MILLIMETER WAVE RADAR SENSOR ASSEMBLY VERTICALLY AND HORIZONTALLY (b) Place SST (reflector))

Clean the radiator grill garnish and radiator grille sub-assembly or millimeter wave radar sensor assembly.

Dirt, snow or other obstruction is on the surface of the radiator grille sub-assembly or millimeter wave sensor assembly. Check and remove any dirt, snow or other obstruction on the surface of the radiator grille sub-assembly or millimeter wave sensor.

2

Target distance abnormality

  • SST (reflector) is placed incorrectly.

Place SST (reflector) in the correct position. (See page 2. MILLIMETER WAVE RADAR SENSOR ASSEMBLY VERTICALLY AND HORIZONTALLY (b) Place SST (reflector))

3

Plural targets abnormality

  • There is a reflective object near SST (reflector).
  • A person entered the adjustment area.

Remove any reflective objects.

Ensure that nobody enters the adjustment area during the adjustment. (See page 1. PREPARATION FOR MILLIMETER WAVE RADAR SENSOR ASSEMBLY ADJUSTMENT)

4

Target move abnormality

  • SST (reflector) was moved out of position or shaking during the adjustment due to wind.
  • SST (reflector) shaking during beam axis adjustment
  • A person entered the adjustment area.

Place SST (reflector) in the correct position. (See page 2. MILLIMETER WAVE RADAR SENSOR ASSEMBLY VERTICALLY AND HORIZONTALLY (b)Place SST (reflector))

Perform adjustment in an area with no wind.

Ensure that nobody enters the adjustment area during the adjustment. (See page 1. PREPARATION FOR MILLIMETER WAVE RADAR SENSOR ASSEMBLY ADJUSTMENT)

6

Target angle abnormality

  • SST (reflector) is placed incorrectly.
  • The beam axis of the millimeter wave radar sensor assembly is outside the automatic correction range.

Place SST (reflector) in the correct position. (See page 2. MILLIMETER WAVE RADAR SENSOR ASSEMBLY VERTICALLY AND HORIZONTALLY (b)Place SST (reflector))

Check the condition of the millimeter wave radar sensor assembly.

Check the condition of the sensor, radiator grille sub-assembly and front bumper cover. Check the installation condition of the front bumper cover and radiator grille sub-assembly.

7

Radar abnormality

  • Millimeter wave radar sensor assembly learning in progress.*1
  • Operation of the millimeter wave radar sensor assembly is abnormal.

Clear for DTCs.

Check for DTCs.

8

Radar dirtiness

  • There is dirt on the radiator grille sub-assembly or millimeter wave radar sensor assembly.
  • Dirt, snow or other obstruction is on the surface of No. 1 radiator grill garnish or millimeter wave sensor assembly.

Clean the radiator grill garnish and radiator grille sub-assembly or millimeter wave radar sensor assembly.

9

Temperature abnormality

  • The temperature around the millimeter wave radar sensor assembly is outside the operable range of the millimeter wave radar sensor assembly.

Wait until the temperature drops to the operable range (-30 to 70°C).

10

Voltage abnormality

  • IG power source voltage is outside the operable range of the millimeter wave radar sensor assembly.

Check the battery voltage (specified condition: 10 to 16 V).

  1. for 1UR-FE:

  2. for 3UR-FE:

  3. for 3UR-FBE:

11

External communication abnormality

  • CAN communication between DSS and the millimeter wave radar sensor assembly is abnormal.

Check the condition of the connectors.

12

Radar axis aiming failure upward

  • The beam axis of the millimeter wave radar sensor assembly is outside the automatic correction range (upward).

Check the condition of the millimeter wave radar sensor assembly.

Check the condition of the sensor and front bumper cover. Check the installation condition of the front bumper cover.

13

Radar axis aiming failure downward

  • The beam axis of the millimeter wave radar sensor assembly is outside the automatic correction range (downward).

Check the condition of the millimeter wave radar sensor assembly.

Check the condition of the sensor and front bumper cover. Check the installation condition of the front bumper cover.

14

Vehicle speed abnormality

  • The vehicle is not stationary.

Ensure that the vehicle remains stationary.

15

Other

  • A mode change error occurred.
  • Operation of the yaw rate sensor is abnormal.
  • The vehicle is shaking.

Perform adjustment again.

(7) Press the "Exit" button to finish front beam axis adjustment.

(d) Front Beam Axis Misalignment Reading:

NOTICE:

  • Close all of the doors.
  • Ensure that nobody enters the adjustment area during the adjustment.
  • Do not move or shake the vehicle during adjustment (do not get in or out of the vehicle).
  • During the procedure, do not enter the adjustment area.
  • Do not turn off the Techstream or ignition switch.

(1) Enter the following menus: Body Electrical / Pre-Collision 2 / Utility / Front Beam Axis Misalignment Reading.

(2) According to the display on the Techstream, press "Next".

(3) Perform the adjustment according to the display on the Techstream.

Specified Condition:

Vertical

-0.4 to 0.4 deg

Horizontal

-0.3 to 0.3 deg

NOTICE:

If the result is not as specified, perform beam axis adjustment again.

(e) Front Beam Axis Offset Reading:

(1) Enter the following menus: Body Electrical / Pre-Collision 2 / Utility / Front Beam Axis Offset Reading.

(2) According to the display on the Techstream, press "Next".

(3) Perform the adjustment according to the display on the Techstream.

Specified Condition:

Vertical learning value

0 deg

Horizontal learning value

0 deg

NOTICE:

If the result is not as specified, perform beam axis adjustment again.

(4) Turn the ignition switch off.

(5) Disconnect the Techstream from the DLC3.

    Millimeter Wave Radar Sensor

    Components

    See More:

    Toyota Tundra Service Manual > Intuitive Parking Assist System: Park / Neutral Position Switch Circuit
    DESCRIPTION This circuit sends the park/neutral position switch assembly signals to the clearance warning ECU assembly. WIRING DIAGRAM CAUTION / NOTICE / HINT NOTICE: Inspect the fuses for circuits related to this system before performing the following procedure. PROCEDURE 1. CHECK CLEARANCE WARNING ...

    Toyota Tundra Owners Manual

    Toyota Tundra Service Manual

    © 2026 Copyright www.ttundra.com
    0.0175