Toyota Tundra Service Manual: Reassembly

REASSEMBLY

PROCEDURE

1. INSTALL FRONT UPPER BALL JOINT DUST COVER LH

(a) Pack the upper arm ball joint with MP grease.

Grease capacity:

5.0 to 7.0 g (0.176 to 0.247 oz.)

(b) Using a snap ring expander, install the dust cover set ring.

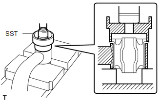
2. INSTALL FRONT SUSPENSION UPPER ARM BUSH

(a) Using SST and a press, press in a new bush.

SST: 09710-26011

09710-05061

    Installation

    Removal

    See More:

    Toyota Tundra Service Manual > Power Tilt And Power Telescopic Steering Column System: Tilt and Telescopic Manual Switch Circuit Malfunction (B2603)
    DESCRIPTION Different voltage values are sent to the multiplex tilt and telescopic ECU by operating the tilt and telescopic switch (headlight dimmer switch assembly). The multiplex tilt and telescopic ECU then judges which motor and in which direction that motor should operate based on the voltage v ...

    Toyota Tundra Owners Manual

    Toyota Tundra Service Manual

    © 2026 Copyright www.ttundra.com
    0.0152